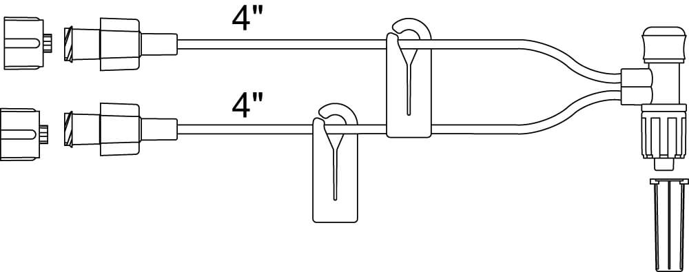
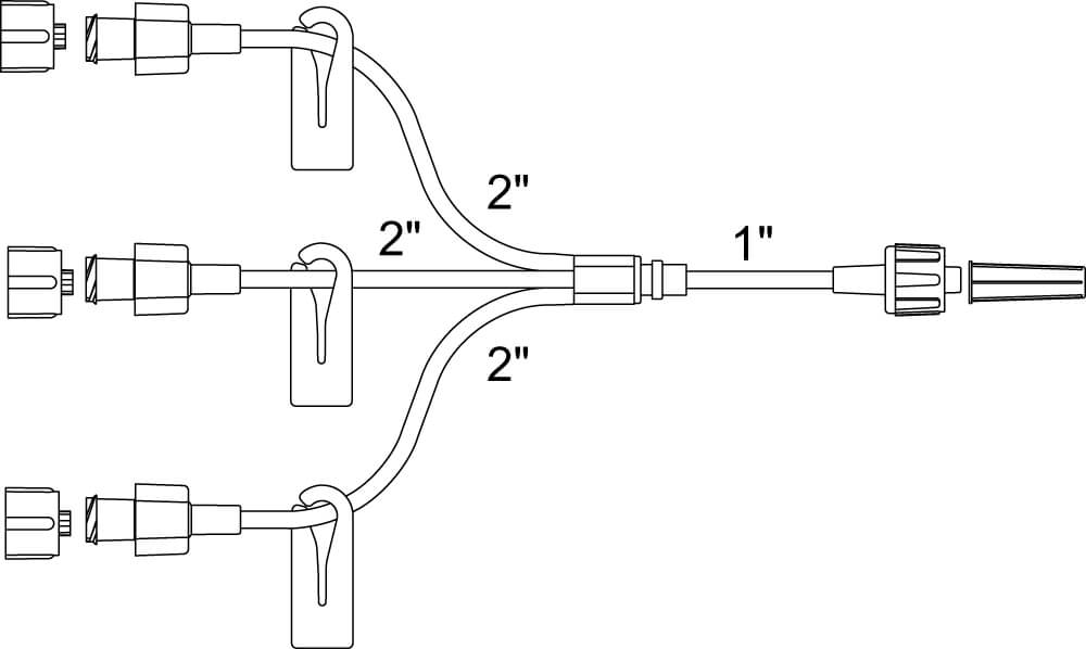
Ultra™ Small Bore Extension Sets
ICU Medical has a wide selection of Ultra Small Bore and Micro Bore Extension Sets.
Mini-Vol™ Micro Bore Extension Sets feature low priming volumes that enable small-volume infusions.
All sets are provided sterile.
Ordering Information
Box quantity: 50
Specifications / Ordering Information
Ultra Small Bore Extension Sets
Related Products
Product Inquiry
Please enter your details into the following form.




